Адрес нашего салона

г.Минск Меньковский тракт 2А
Строительный рынок «Малиновка

+37529 652-82-92

+37529 533-70-70

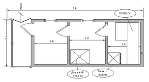
Готовая баня под ключ 7х2,3х2,5 из бруса 90 мм

Технические характеристики
Оценка 5 из 5

Кровля бани – профнастил (при желании Заказчика можно поменять на любую другую).
Комплектация готовой бани под ключ:
• Электрика (вся разводка, розетки, включатели, светильники, автоматы).
• Печь с камнями.
• Бак на воду 55 литров.
• Душевой поддон в помывочной.
• Стол с лавками в комнате отдыха.
• Брус 90 мм покрытый снаружи пропиткой для дерева.
• Внутри баня проложена фольгой и обшита вагонкой.
• Потолок утеплен минватой толщиной 100 мм.
• Пол – шпунтованная доска 27 мм утеплен керамзитом.

Как к нам приехать?

ООО «РуфГрад» 

220036, РБ, г. Минск

Бетонный проезд, д. 6, каб. 5 

УНП 192337167   

E — mail: roof-rb@mail.ru

тел. +37529 652-82-92

Будь в курсе наших акций!

Подпишись на рассылку нашего интернет-магазина!

Top